歡迎光臨山東新澤儀器有限公司官方網站 CEMS在線監測 氣體分析儀 過程氣分析系統 進口分析儀表 聯系我們
富士電機品牌
ZAJ型磁氧分析儀

ZAJ型磁氧分析儀

  • 品牌:富士電機
  • 型號:ZAJ型
  • 廠家:日本富士
產品說明

磁氧分析儀ZAJ型

一、產品簡介

    快速響應、配備通信功能

ZAJ型磁氧分析儀


1.  富士電機ZAJ型磁氧分析儀使用說明書(中文)
2.  磁氧分析儀(壓力檢測型)是利用氧的磁性,將氧氣濃度轉換成壓力,以測量被測氣體中的氧含量的。
3.  O2、NO、NO2為明顯的強正磁性體,會受到磁場的強力吸引。其他的氣體是弱反磁性體。可燃氣體中含有的極少量的NO、NO2,可以忽略不計,因此可以利用這種性質來測量各種氣體中O2的含有量。

4.  本分析儀的測量方式是對被測氣體中所含氧濃度與輔助氣體中所含氧濃度的差進行檢測,因此必須配備輔助氣體瓶。


二、規格


適用范圍

生產過程、防止公害

測量組分
  (測量量程)

O2

0~2……100%

O2

100~98……0%

顯示

在液晶顯示屏上能以人機對話方式進行操作。

干涉影響

其它氣體的干涉影響少

重復性

±0.5% FS

響應速度

2秒/90%

通信功能

支持(RS-232C)

外形尺寸
  (H×W×D)

機柜安裝型 220×483×463mm

重量

約16kg



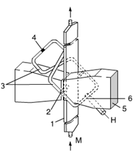
三、ZAJ型磁氧分析儀測量原理圖:

                                                    ZAJ型磁氧分析儀內部圖


                                                 圖-1   檢測部簡圖


M:被測氣體        H:輔助氣體        1:測量室        2:毛細管        3:輔助氣體系統        4:微流量檢測器        5:極片(磁極)        6:節流器

    氧分子在不均勻磁場中收到來自強磁場方向的力。從宏觀來看,該力產生了壓力。該壓力在微流量檢測器中轉換為電氣信號并放大。

    此時,為了使該壓力有效地轉化為電氣信號,需要有輔助氣體從外部流入。輔助氣體通常為N2氣體,在差動型(抑制)時,則需要具有差動基準氧氣濃度的N2氣體。

    由于輔助氣體從圖-1中5的磁極流向測量室,磁極部的輔助氣體管路收到N2反磁性的壓力,流出部受到O2正磁性壓力,由于O2的壓力更大,因此壓力被施加與輔助氣體管路。另一側對稱的排出口處于無磁場的位置,因此圖中3輔助氣體系統的管路中產生輔助氣體流,這種氣體的微流量被檢測器轉化為了信號。

    由于該壓力與被測氣體中的氧濃度和輔助氣體中的氧濃度(通常氧濃度為0的N2)之差成正比,因此能夠測量氧濃度。

    由于磁極間產生的磁場是不連續磁場,因此微流量為脈動型,電氣信號為交流型。

    由于測量室體積小,且微流量檢測器相應速度快,本儀表有較高的響應速度。

    另外,由于磁力產生的微流量不受被測氣體熱傳導率、粘度、以及熱容量的影響,因此其他氣體的干擾影響很小。



tag:


優質的服務流程

· quality of service processes ·

掃一掃,微信關注掃一掃,微信關注

Copyright ? 2015-2023 山東新澤儀器有限公司 版權所有
全國熱線:400-050-3910
E-mail:xinzeyiqi@163.com
地址:濟南市槐蔭區太平河南路1567號均和云谷匯智港6號樓
魯ICP備16002986號-5? XML地圖



受信任網站


逛了這么久,何不咨詢分析儀工程師?1分鐘留下信息我們將給您出具解決方案!

在線咨詢

Online Consulting

在線客服 在線咨詢1 在線咨詢2 在線咨詢3
掃一掃,微信關注

咨詢熱線

400-050-3910